2021-09-28浏览次数:
来源:国家知识产权局 编辑:知识产权进行时
(版权归原作者所有,本文仅供交流学习,部分文章推时未能及时与原作者取得联系,若来源标注错误或侵犯到您的权益,烦请告知,我们将立即删除)
封面图片来自网络
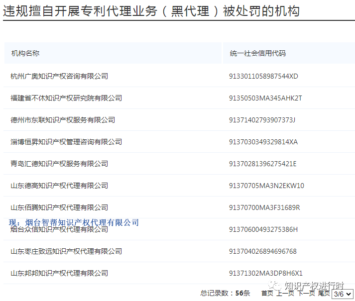
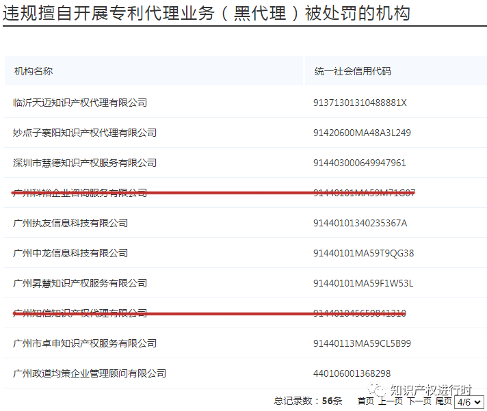
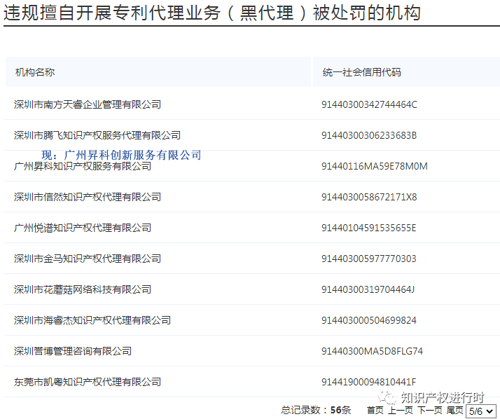
全国专利代理信息公示平台中的风险名单主要对存在风险的代理机构和代理人员进行公示;日前,对56家违规擅自开展专利代理业务被处罚的机构进行公示:

注:下列代理机构和代理人员相关行为存在风险,现予以提示。






您合作的机构是有资质吗?
第一步:
登录全国专利代理信息公示平台
网址:http://dlgl.cnipa.gov.cn/txnqueryAgent.do

第二步:
在机构名称处输入 合作代理机构名称 点击 查询 按钮
若,专利代理机构列表中显示 暂无数据 ,则该机构为未取得专利代理资质,擅自从事专利代理业务;
若,专利代理机构列表中显示 对应的代理机构名称,则该代理机构具有专利代理资格。

代理违法违规行为线索联系方式

