2020-02-28浏览次数:
来源:IPRdaily中文网(iprdaily.cn)
(版权归原作者所有,本文仅供交流学习,部分文章推送时未能及时与原作者取得联系,若来源标注错误或侵犯到您的权益,烦请告知,我们将立即删除)
封面及图中图片来自网络
IPRdaily导读:近两日,IPRdaily中文网关注到李文亮医生的姓名被抢注商标一事。2月7日凌晨,武汉市中心医院眼科医生李文亮在抗击新冠肺炎疫情工作中不幸感染,经全力抢救无效去世。彼时,全社会都在为李文亮医生的逝世哀悼,可是却有公司在这一天提交了“李文亮”商标申请。6天后,也就是2月13日,又有公司提交“李文亮”商标申请。
近两日,IPRdaily中文网关注到李文亮医生的姓名被抢注商标一事。
2月7日凌晨,武汉市中心医院眼科医生李文亮在抗击新冠肺炎疫情工作中不幸感染,经全力抢救无效去世。
有企业提交了“李文亮”商标申请
彼时,全社会都在为李文亮医生的逝世哀悼,可是却有公司在这一天提交了“李文亮”商标申请。6天后,也就是2月13日,又有公司提交“李文亮”商标申请。
目前,在中国商标网检索“李文亮”商标,已经搜不到任何结果。

不过根据此前媒体披露的两家公司来看,通过企查查检索,还可看到其申请的商标。

长沙市福茶堂电子商务有限公司申请了3件“李文亮”商标,分别是第30类-方便食品、第5类-医药、第10类-医疗器械,还有1件“文亮”商标,申请在第10类-医疗器械。

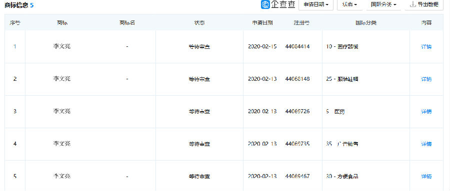
东莞特雷斯智能科技有限公司申请了5件“李文亮”商标,分别是第10类-医疗器械、第25类-服装鞋帽、第5类-医药、第35类-广告销售和第30类-方便食品。
是否能注册成功?
商标局26日发文,表明加大对与疫情有关的、易产生不良影响的商标注册申请的管控力度。2月7日,审查部门下发了《疫情防控相关商标审查指导意见》,明确与疫情相关人员姓名,含疫情病毒名、疾病名的相关标志,疫情相关药品标志,防护产品相关标志,其他疫情相关标志等的审查指导意见,依法从严从快打击与疫情相关的非正常商标注册申请行为。截至目前,商标局已对“火神山”“雷神山”等近600件与此次新冠肺炎疫情相关的商标注册申请实施管控。(商标局:对“火神山”“雷神山”等近600件疫情相关商标申请实施管控)

此前,火神山、雷神山据商标网显示已有人提交了68件商标申请,由此可以推测,除这68件之外的500多个管控商标中,也许就包含“李文亮”相关的商标。
另外,据查询显示,中华英烈网记载的革命烈士中也有“李文亮”一名。根据此前轰动一时的武大郎商标事件,也可推测注册不会成功。(“武大郎”商标因烈士被驳回?烈士姓名禁用商标)

而据澎湃新闻2月27日16时报道称,针对有公司在李文亮医生去世当天抢注“李文亮”商标一事,长沙市知识产权局一位副局长正带队现场调查此事,该局对此事高度重视,已责令企业撤销商标申请,并对该企业违法行为展开调查。目前,长沙市知识产权局和长沙市天心区市场监督管理局正在现场调查。

“要是在平时,注册‘李文亮’这个名字不违法,但是在疫情期间,该公司在李文亮去世当天注册他的名字造成了社会不良影响。现在当事人目前非常配合调查,已经撤掉商标注册申请,我们接下来还将对于事件的恶意程度、是否取得违法所得等情况详细调查后,严肃处理,绝不姑息。”长沙市知识产权局蒋姓科长说。
另一方面,上述该东莞科技公司在接受采访中明确表明,没有注册李文亮商标。
申请商标是纪念李文亮医生的方法?
对于这种行为,大多数人的第一反应都是愤怒。


在知产库发布的相关文章评论中,有这样一条言论:
“为何不可?疫情过后有谁还能记得李文亮?记得多久?作为商标,也许做得好李文亮可以永远活在人们心中。”

在第一财经的评论中,也有类似的说法。

当然了,评论里很快就有人反驳这一观点。


还有另一种声音表示,
“如果真是有心人事先得到李医生家人的同意并支付合理的许可费用,然后真真正正把这个名字用在良心医疗产品上,也算是对李医生在天之灵的告慰吧。”

能不能从源头制止?
此前,在报道钟南山、雷神山、火神山被抢注商标时(“钟南山”被申请商标?“雷神山”、“火神山”也被抢注?),曾有人在评论中提出,“应该设立商标注册黑名单制度”,或者“建立恶意抢注惩罚制度”。
在去年新修订的《商标法》中,第四条增加了“不以使用为目的的恶意商标注册申请,应当予以驳回”,第六十八条增加了“对恶意申请商标注册的,根据情节给予警告、罚款等行政处罚”。
每每遇到社会热点事件,我们好像总能看到商标抢注的现象。一些无伤大雅的蹭热度暂且还能理解,但疫情当前,在全国上下一心抗疫的时候,这种做法不免令人心寒。
虽然商标局已经表明对疫情相关商标实施管控,但据最新显示的近1000件的申请数量,也让我们看到了一些人、一些企业的险恶用心。如果能对这些抢注者加以实质性的惩罚,以儆效尤,也许能从源头避免此类恶劣影响发生。我们期待以后类似的情况能少一点,再少一点。
最新进展(一):
长沙市福茶堂电子商务有限公司法定代表人姜某某向社会公开致歉
2月27日,据湖南“政法频道”报道,长沙市知识产权局、天心区市场监督管理局(知识产权局)要求长沙市福茶堂电子商务有限公司法定代表人姜某某撤回商标注册申请,并向社会公开致歉。姜某某表示,深刻认识到问题的严重性,已主动撤回相关商标申请,并出具致歉书。

长沙市知识产权局对申请人姜某进行约谈

最新进展(二):
商标局严厉打击与疫情相关的恶意商标注册申请行为

与此同时,2月27日晚间,国家知识产权局商标局发布了“严厉打击与疫情相关的恶意商标注册申请行为”通知,通知全文如下。
为依法严厉打击与疫情相关的恶意商标注册申请行为,商标局加大对与疫情相关的、易产生不良影响的商标注册申请的管控力度,制定《疫情防控相关商标审查指导意见》,明确与疫情相关人员姓名,含疫情病毒名、疾病名的相关标志,疫情相关药品标志,防护产品相关标志,其他疫情相关标志等的审查指导意见。
火神山医院、雷神山医院是武汉抗击疫情前线医院名称,是疫情防控期间全社会舆论关注焦点,是全国人民团结一心,抗击疫情的重要标志之一。火神山医院、雷神山医院以外的其他申请人将其作为商标注册易造成重大社会不良影响,因此,“火神山”“雷神山”商标注册申请依法应予驳回。李文亮是武汉市中心医院眼科医生,因接诊感染新冠肺炎不幸去世。将其姓名作为商标使用或者注册,易造成重大社会不良影响,因此,“李文亮”商标注册申请依法应予驳回。
截至目前,商标局已对“火神山”“雷神山”等近1000件与此次新冠肺炎疫情相关的商标注册申请实施管控。
下一步,商标局严格执行《商标法》《规范商标注册申请行为若干规定》,严厉打击非正常商标注册申请行为,规范商标注册申请行为,维护商标注册申请秩序,营造共抗疫情的良好氛围。
来源:IPRdaily中文网(iprdaily.cn)
作者:橙子
编辑:IPRdaily王颖 校对:IPRdaily纵横君